Hyundai Elantra: Emission Control System / Exhaust Emission Control System

Description and Operation

Description
Exhaust emissions (CO, HC, NOx) are controlled by a combination of engine modifications and the addition of special control components.
Modifications to the combustion chamber, intake manifold, camshaft and ignition system form the basic control system.
These items have been integrated into a highly effective system which controls exhaust emissions while maintaining good drivability and fuel economy.
Air/Fuel Mixture Control System [Multiport Fuel Injection (MFI) System]
The MFI system uses signals from the heated oxygen sensor to activate and control the injector installed in the manifold for each cylinder, thus precisely regulating the air/fuel mixture ratio and reducing emissions.
This in turn allows the engine to produce exhaust gas of the proper composition to permit the use of a three way catalyst. The three way catalyst is designed to convert the three pollutants [hydrocarbons (HC), carbon monoxide (CO), and oxides of nitrogen (NOx)] into harmless substances. There are two operating modes in the MFI system.
1.
Open Loop air/fuel ratio is controlled by information pre-programmed into the ECM.
2.
Closed Loop air/fuel ratio is constantly adjusted by the ECM based on information supplied by the oxygen sensor.

Catalytic Converter Description and Operation

Description
The catalytic converter of the gasoline engine is a three way catalyst. It oxidizes carbon monoxide and hydrocarbons (HC), and separates oxygen from the oxides of nitrogen (NOx).

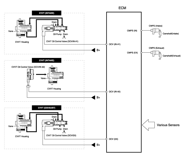
CVVT (Continuously Variable Valve Timing) System Description and Operation

Description
Continuous Variable Valve Timing (CVVT) system advances or retards the valve timing of the intake and exhaust valve in accordance with the ECM control signal which is calculated by the engine speed and load.
By controlling CVVT, the valve over-lap or under-lap occurs, which makes better fuel economy and reduces exhaust gases (NOx, HC) and improves engine performance through reduction of pumping loss, internal EGR effect, improvement of combustion stability, improvement of volumetric efficiency, and increase of expansion work.
This system consist of the CVVT Oil Control Valve (OCV) which supplies the engine oil to the cam phaser or runs out the engine oil from the cam phaser in accordance with the ECM PWM (Pulse With Modulation) control signal, and the Cam Phaser which varies the cam phase by using the hydraulic force of the engine oil.
The engine oil getting out of the CVVT oil control valve varies the cam phase in the direction (Intake Advance/Exhaust Retard) or opposite direction (Intake Retard/Exhaust Advance) of the engine rotation by rotating the rotor connected with the camshaft inside the cam phaser.

Operation Principle
The CVVT has the mechanism rotating the rotor vane with hydraulic force generated by the engine oil supplied to the advance or retard chamber in accordance with the CVVT oil control valve control.
   
•
A separate solenoid valve is installed on the chain cover in the intake side for closing and releasing a separate lock pin.

[CVVT System Mode]

(1) Low Speed / Low Load
(2) Part Load


(3) Low Speed / High Load
(4) High Speed / High Load



Driving
Condition
Exhaust Valve
Intake Valve
Valve
Timing
Effect
Valve
Timing
Effect
(1) Low Speed
/Low Load
Completely
Advance
* Valve Under-lap
* Improvement of combustion stability
Completely
Retard
* Valve Under-lap
* Improvement of combustion stability
(2) Part Load
Retard
* Reduction of HC
Retard
* Delays the closing time of intake valve to reduce pumping loss
* Increases expansion work
(3) Low Speed
/High Load
Retard
* Increase of expansion work
Advance
* Prevention of intake back flow (Improvement of volumetric efficiency)
(4) High Speed
/High Load
Advance
* Reduction of pumping loss
Retard
* Improvement of volumetric efficiency

Fuel Tank Air Filter Repair procedures
Removal 1. Turn ignition switch OFF and disconnect the battery negative (-) terminal. 2. Remove the canister assembly. (Refer to Emission Control System - "Canister") 3. Remove the inst ...

Other information:

Hyundai Elantra AD (2016-2020) Owners Manual: Climate Control Air Filter
Filter Inspection The climate control air filter should be replaced according to the Maintenance Schedule. If the vehicle is operated in severely air-polluted cities or on dusty rough roads for a long period, it should be inspected more frequently and replaced earlier. When you replace the cl ...

Hyundai Elantra AD (2016-2020) Owners Manual: Manual Heating and Air Conditioning
The heating and cooling system can be controlled manually by pushing buttons other than the AUTO button. In this case, the system works sequentially according to the order of buttons selected. When pressing any button except the AUTO button while using automatic operation, the functions not s ...

© 2018-2026 www.helantraad.com